Kód ELFETEX
10.469.744
AGRO Kabelová vývodka Progress, vícekabelová, mosazná, závit M20
Informace o produktu
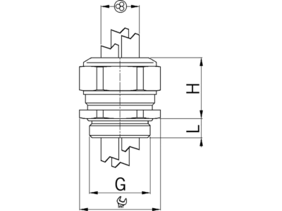
Kabelová vývodka Progress, vícekabelová, mosazná, závit M20
- Značka AGRO
Kabelové vývodky
- Provedení Rovný
- Povrchová úprava Nikl
- Rozměr nástrčného klíče 24 mm
- Délka závitu 6 mm
- Typ těsnění Těsnící kroužek
- Kvalita materiálu Mosaz
- Rozsah provozních teplot -40 - 100 °C
- Typ závitu Metrický
- Materiál Kov
- Stoupání závitu 1.5 mm
- Pro kabely o průměru od / do 35 - 50 mm
- Stupeň krytí (IP) IP68
- Rozměr závitu metricky / PG 20
- Pro tloušťku stěny 1 - 7 mm
- Rozměr závitu v palcích / PG Ostatní, jiné
- Druh připojení šroubení ke krytu Šroubovací
- Druh odlehčení tahu podle EN 62444 Typ A
- Materiál utěsnění Ostatní, jiné
Ke stažení
Všechny obrázky











