Kód ELFETEX
10.468.422
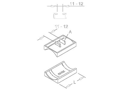
NIEDAX Opěrné korýtko pro třmenovou příchytku Hammerfuß, pro kabely s O 26-30 mm, pro drážku 11-12 mm, plast PE GWA 30
Informace o produktu
Opěrné korýtko, s UV ochranou, pro třmenovou příchytku Hammerfuß, samodržné na C-profilových lištách pomocí upínací pružiny, bez halogenů. Použití pro : Třmenová příchytka Hammerfuß BA ... a BAK ... C-profilové lišty s šířkou drážky 11 - 12 mm Rozměry (přibližné míry) pro Ø kabelu : 26 - 30 mm Délka d : 40 mm Provozní teplota : -40° až 80°C Barva : černá Materiál : polyetylen (PE) bez silikonu (bez látek narušující smáčení laku)
- Značka NIEDAX
Protivany pro příchytky s třmenem
- Provedení Protikryt
- Vhodné pro max. průměr kabelu 30 mm
- Bez halogenů Ano
- Povrchová úprava Bez povrchové úpravy
- Kvalita materiálu PE
- Délka 40 mm
- Materiál Plast
- Upínací rozsah 26 - 30 mm
GPSR Details
Odpovědnost za produkt +
Niedax – Kleinhuis s.r.o.
Adresa:Palackého 701, 277 46 Veltrusy, Česká republika
Telefon: +420 315 781 116
E-mail: office@niedax.cz
Ke stažení
Všechny obrázky











