Kód ELFETEX
10.469.744
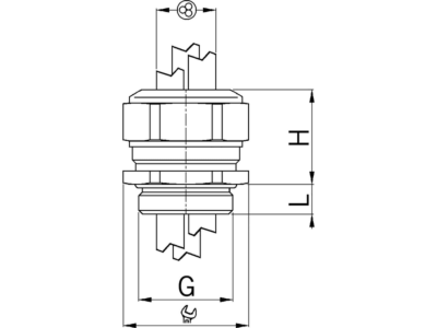
AGRO Kabelová vývodka Progress, vícekabelová, mosazná, závit Pg13
Informace o produktu
Kabelová vývodka Progress, vícekabelová, mosazná, závit Pg13
- Značka AGRO
Kabelové vývodky
- Provedení Rovný
- Bez halogenů Ano
- Nárazuvzdorný Ano
- Povrchová úprava Nikl
- Rozměr nástrčného klíče 24 mm
- Délka závitu 6 mm
- Odlehčení tahu Ano
- Typ těsnění Těsnicí kroužek
- Kvalita materiálu Mosaz
- Rozsah provozních teplot -40 - 100 °C
- Typ závitu PG
- Materiál Kov
- Vícenásobná těsnící vložka Ano
- Pro kabely o průměru od / do 3,5 - 5 mm
- Stupeň krytí (IP) IP68
- Rozměr závitu metricky / PG 13
Ke stažení
Všechny obrázky











