Kód ELFETEX
10.469.744
AGRO Kabelová vývodka Progress, vícekabelová, mosazná, závit Pg21
Informace o produktu
Kabelová vývodka Progress, vícekabelová, mosazná, závit Pg21
- Značka AGRO
Kabelové vývodky
- Provedení Rovný
- Bez halogenů Ano
- Nárazuvzdorný Ano
- Povrchová úprava Nikl
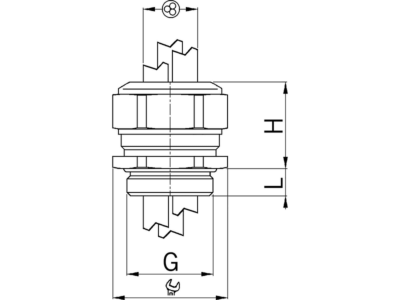
- Rozměr nástrčného klíče 36 mm
- Délka závitu 7.5 mm
- Odlehčení tahu Ano
- Typ těsnění Těsnicí kroužek
- Kvalita materiálu Mosaz
- Rozsah provozních teplot -40 - 100 °C
- Typ závitu PG
- Materiál Kov
- Vícenásobná těsnící vložka Ano
- Pro kabely o průměru od / do 9 - 11,5 mm
- Stupeň krytí (IP) IP68
- Rozměr závitu metricky / PG 21
Ke stažení
Všechny obrázky











