Kód ELFETEX
11.516.507
FAMATEL Skříň rozvodná pro fotovoltaiku fr39121-DC-0-2-2
Recyklační poplatek vč. DPH
2,64 Kč
Informace o produktu
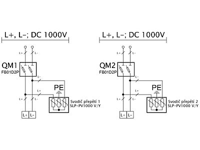
Fotovoltaická rozvodnice FAMATEL SolarBOX fr013 IP65 chránící DC vedení o max. napětí 1000V, pro 2 stringy. Osazena jistícími a ochrannými prvky: 2 x pojistkový odpojovač 1000V DC, 2P 10x38, pojistky 16A, 2 x svodič přepětí SALTEK 1000V DC typ II, použité pouzdro: 39121 - 215x305x110mm, barva: světle šedá.
Fotovoltaická rozvodnice (rozváděč nízkého napětí) SolarBOX fr013 IP65 chránící DC vedení o max. napětí 1000V, pro 2 stringy. Osazena jistícími a ochrannými prvky: 2 x pojistkový odpojovač 1000V DC, 2P 10x38, pojistky 16A, 2 x svodič přepětí SLP-PV1000 V/Y SALTEK 1000V DC typ II, použité pouzdro: 39121 - celkem k dispozici 12mod. míst, rozměry: 215x305x110mm, plastová, materiál ABS, IK08, zkouška žhavou smyčkou 650°C, bezhalogenová a UV odolná, montáž na povrch, barva: světle šedá, rozsah teplot -25°C + 70°C, aplikované normy: ČSN EN 61439-2 ed. 2, balení: 1ks (fólie), PE svorkovnice součástí (2x16 mm2 + 12x10 mm2) / N svorkovnice součástí (2x16 mm2 + 12x10 mm2), hladké boky (stěny) - pro vyvrtání otvoru a osazení vývodkou (vrchní a spodní strana má stěny s předlisovanými vstupy pro vyvrtání vstupního otvoru a následného osazení příslušnou vývodkou), dodáno s průvodní dokumentací: štítkem rozváděče, návodem pro obsluhu a montáž, krycím listem (charakteristiky rozhraní), protokolem o kusové zkoušce, ES prohlášením o shodě, schématem zapojení a zkouškou oteplení pro rozváděče nízkého napětí. Pro montáž na hořlavé podklady je nutné použít nehořlavou podložku. Recyklační poplatek je zahrnut v ceně výrobku.
- Značka FAMATEL
Fotovoltaiky-DC-Stringbox
- Barva Šedá
- Šířka 305 mm
- Výška 215 mm
- Hloubka 110 mm
- Rozsah provozních teplot -25 - 70 °C
- Materiál Plast
- Rázová pevnost IK08
- Stupeň krytí (IP) IP65
- Typ pojistek gPV (celoprostorová -fotovoltaická ochrana)
- Pro pojistky velikosti 10x38 mm
- Ochranný vstup 16 A
GPSR Details
Odpovědnost za produkt +
Famatel - CZ s.r.o.
Adresa:Nádražní 344/23, 150 00 Praha 5, Česká republika
Telefon: +420 737 430 924
E-mail: info@famatel.cz
Bezpečnostní dokumenty dodavatele: Bezpečnostní dokumenty dodavatele
Ke stažení
Všechny obrázky












