Kód ELFETEX
10.840.338
fr100L - Fotovoltaická rozvodnice SolarB
Recyklační poplatek vč. DPH
7,83 Kč
Informace o produktu
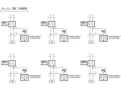
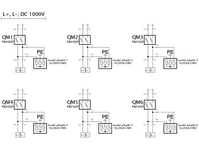
Fotovoltaická rozvodnice FAMATEL SolarBOX fr100L IP65 chránící DC vedení o max. napětí 1000V, pro šest stringů. Osazena jistícími a ochrannými prvky: 6 x pojistkový odpojovač LOVATO 1000V DC, 2P 10x38, bez pojistek, 6 x svodič přepětí LOVATO 1100V DC typ II, použité pouzdro: 39421 - 565x325x150mm, barva: světle šedá.
Fotovoltaická rozvodnice (rozváděč nízkého napětí) SolarBOX fr100L IP65 chránící DC vedení o max. napětí 1000V, pro šest stringů. Osazena jistícími a ochrannými prvky: 6 x pojistkový odpojovač 1000V DC, 2P 10x38, bez pojistek, 6 x svodič přepětí LOVATO 1000V DC typ II, 12x RSA svorka, použité pouzdro: 39421 - celkem k dispozici 42mod. míst, rozměry: 565x325x150mm, plastová, materiál ABS, IK08, zkouška žhavou smyčkou 650°C, bezhalogenová a UV odolná, montáž na povrch, barva: světle šedá, rozsah teplot -25°C + 70°C, aplikované normy: ČSN EN 61439-2 ed. 2, balení: 1ks (fólie), PE svorkovnice součástí (2x16 mm2 + 12x10 mm2) / N svorkovnice součástí (2x16 mm2 + 12x10 mm2), hladké boky (stěny) - pro vyvrtání otvoru a osazení vývodkou (vrchní a spodní strana má stěny s předlisovanými vstupy pro vyvrtání vstupního otvoru a následného osazení příslušnou vývodkou), dodáno s průvodní dokumentací: štítkem rozváděče, návodem pro obsluhu a montáž, krycím listem (charakteristiky rozhraní), protokolem o kusové zkoušce, ES prohlášením o shodě, schématem zapojení a zkouškou oteplení pro rozváděče nízkého napětí. Pro montáž na hořlavé podklady je nutné použít nehořlavou podložku. Recyklační poplatek je zahrnut v ceně výrobku.
- Značka FAMATEL
Fotovoltaiky-DC-Stringbox
- Barva Šedá
- Šířka 325 mm
- Výška 565 mm
- Výška 150 mm
- Rozsah provozních teplot -25 - 70 °C
- Materiál dutinky Plast
- Rázová pevnost IK08
- Max. rozsah měření napětí, DC 1000 V
- Stupeň krytí (IP) IP65
- Typ pojistek gPV (celoprostorová -fotovoltaická ochrana)
Ke stažení
Všechny obrázky











