Kód ELFETEX
                                    10.828.607                                
                                            OSRAM Driver pro LED pásky OPTOTRONIC OT 110/120-277/1A4 2DIMLT2 P UNV1
                    Recyklační poplatek vč. DPH
                
            4,84 Kč        
    Informace o produktu
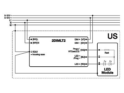
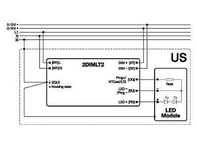
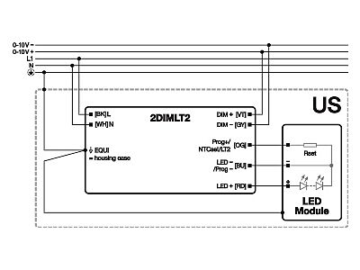
0…10 V, AstroDIM – drivery LED s konstantním proudem. Vlastnosti výrobku: K dodání s různými výkonovými stupni: 50 W, 100 W, 110 W. Vstupní napětí: 120…277 V. Dostupné se škálou proudového výstupu: až 1 400 mA. Flexibilní hodnota proudu s jedním dalším kabelem (LEDset2). AstroDIM pro nezávislé stmívání s pěti samostatnými úrovněmi (režim astro). Oddělené rozhraní 0…10 V vhodné pro jednosměrné systémy dálkového řízení. Funkce konstantního světelného výkonu. Ochrana proti přehřátí prostřednictvím externí NTC sondy nebo rozhraní LEDset2. Výhody výrobku: Funkčnost 2DIM v jednom zařízení (AstroDIM, 0…10 V). Vysoká úroveň přepěťové ochrany: až 6 kV (v třídě ochrany I nebo II). Rychlé programování bez síťového napětí. Vysoká účinnost a spolehlivost. Velká flexibilita díky širokému rozsahu provozní teploty -40…55°C. Ochrana díky dvojité izolaci mezi síťovým vstupem a LED výstupem. Vysoká IP ochrana (IP64). Oblasti použití: Uliční a městské osvětlení. Průmysl. Vhodné pro svítidla třídy ochrany I a II. Výbava / příslušenství: Nezbytný programovací hardware OT pro konfiguraci 2DIM ECG. Možnost programování pomocí softwaru Tuner4TRONIC™.
- Značka OSRAM
 
                    Ovládací jednotky LED                
                - Provedení Dynamický
 - Stmívání 0-10 V Ano
 - Stmívání 1-10 V Ano
 - Stmívání programovatelné Ano
 - Kryt, pouzdro, Kovové pouzdro
 - Určeno pro stálý proud Ano
 - Stupeň krytí (IP) IP64
 - Délka 168.00 mm
 - Šířka 68.00 mm
 - Výška 38.00 mm
 - třída ochrany I
 - Vhodný pro venkovní použití Ne
 - Určeno pro stálé napětí Ne
 - Určeno pro stejnosměrné napětí ( primární strana) Ne
 - IFTTT-podpora k dispozici Ano
 - Stmívání DALI Ne
 - Stmívání DMX Ne
 - Stmívání potenciometrem ( integrován ) Ne
 - Stmívání přepínačem příkazového řádku Ne
 - Stmívání specifické od výrobce Ne
 - Stmívání modulací jmenovitého napětí Ne
 - Stmívání fázovým posunem Ne
 - Stmívání fázovým řezem Ne
 - Stmívání RF Ne
 - Stmívání redukcí sinusové vlny Ne
 - Stmívání dotykem a stmívá Ne
 - Stmívání Zigbee Ne
 - Stmívání s stisknutím tlačítka Ne
 - Bez funkce stmívání Ne
 - Stmívání DSI Ne
 - Kompatibilní s Apple Home Kit Ne
 - Kompatibilní s Google asistentem Ne
 - Kompatibilní s Amazon Alexa Ne
 - Konstantní regulace světelného proudu Ano
 - Ovládání přes Bluetooth Ne
 
Ke stažení
Všechny obrázky
                
                
                
                










