Kód ELFETEX
                                    10.342.564                                
                                            Tyč DEHN 103250 M16x3500mm jímací
Informace o produktu
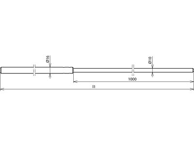
Jímací tyč se zúžením (1000 mm) a sraženými hranami chrání střešní nástavby, komíny apod., upevnění buď pomocí klínu do betonového podstavce (17 kg) nebo pomocí držáků jímacích tyčí/distančních vzpěr.
- Značka DEHN
                    Jímače hromosvodu                
                - Provedení Jímací tyč zkosená
- Povrchová úprava Bez povrchové úpravy
- Materiál dutinky Hliníková slitina
- Délka/výška 3500 mm
- Průměr od / do 10.0 - 16.0 mm
Ke stažení
Všechny obrázky
 
                 
                 
                 
                
                                










