Kód ELFETEX
10.032.610
DEHN Svodič DFL A 255
Recyklační poplatek vč. DPH
0,61 Kč
Informace o produktu
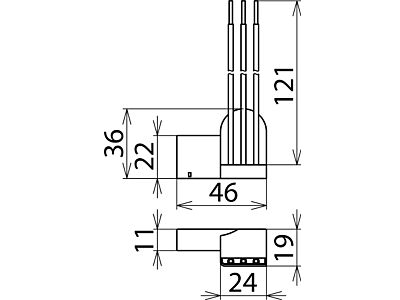
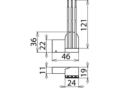
Dvoupólový svodič přepětí DEHNflex, typ 3 podle ČSN EN 61643-11, s kontrolním a odpojovacím zařízením. Zvýšená bezpečnost je zajištěna osvědčeným zapojením do "Y". Je určen k ochraně elektronických přístrojů před přepětím. Zapojení do elektroinstalačních systémů, jako např. podpodlahové rozvody napájení. Instalace na rozhraní zón ochrany před bleskem LPZ 1 - 2 a vyšších.
- Značka DEHN
Přepěťové ochrany přístrojů pro systémy el. napájení
- Způsob montáže Zásuvková lišta
- Počet pólů 2
- Max. trvalé napětí AC 255 V
- Jmenovitý svodový rázový proud (8/20) (L + N-PE) 5
- Jmenovitý svodový rázový proud (8/20) (L-N) 3
- Jmenovité napětí AC 230 V
- Ochranná úroveň L-N 1.25
- Ochranná úroveň L-PE/N-PE 1.5
- Signalizace na zařízení Akustický
- Stupeň krytí (IP) IP20
GPSR Details
Odpovědnost za produkt +
Ke stažení
Všechny obrázky











